5月23日,安徽世豪新能源科技有限公司年產2GWh鋰離子動力及儲能電池項目開工儀式舉行,總投資3億元。

據安徽阜陽經濟開發區投資促進局消息,5月23日,安徽世豪新能源科技有限公司年產2GWh鋰離子動力及儲能電池項目開工儀式舉行。
據悉,本次開工的年產2GWh鋰離子動力及儲能電池項目,總投資3億元,計劃分兩期建設,其中一期項目投資1.5億元,建設年產1GWh鋰離子動力電池生產線,預計2024年底建成投產。
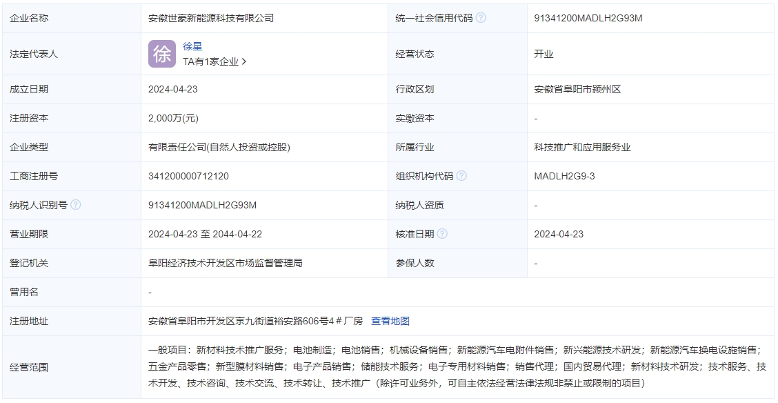
資料顯示,安徽世豪新能源科技有限公司是一家今年4月新成立的公司,公司專注于新能源鋰離子動力電池及儲能電池的研發、生產和銷售的企業。

電池網微信












